- Дисконт
- Станки для гибки
- Станки с ЧПУ
- Металлорежущие станки
- Станки для резки металла
- Ленточнопильные станки
- Отрезные станки
- Профилирующие станки
- Компрессоры
- Штабелеры
- Деревообработка
- Сделано в Турции
- Кровельные станки
- Станки для воздуховодов
- Спец. оборудование
- Готовые решения
- Заточные станки
- Инструмент и оснастка
Тиски станочные прецизионные модульные Metal Master ТCПМ 125/150
| Модель | Ширина губок, мм | Высота губок, мм | Рабочий ход, мм | Длина основания, мм |
|---|---|---|---|---|
| ТСПМ 125/150 | 125 | 40 | 150 | 345 |
Описание
Назначение
Тиски станочные прецизионные модульные Metal Master ТСПМ 125/150 представляют собой высокоточное зажимное устройство, специально разработанное для сложных технологических операций на станках с ЧПУ. Их модульная конструкция с возможностью быстрой замены компонентов (основания, губок, фиксаторов) позволяет оперативно адаптировать оборудование под различные типы обработки - от фрезерования и электроэрозии до прецизионного шлифования. Особенностью данных тисков является уникальная система позиционирования с шаровым шарниром и пружинным механизмом, обеспечивающая точность при максимальной жесткости конструкции. Благодаря увеличенной площади основания и специальным Т-образным пазам, тиски обеспечивают стабильное крепление крупногабаритных заготовок, что делает их незаменимыми в авиастроении, инструментальном производстве и при изготовлении пресс-форм особо сложной конфигурации.
Основные технические характеристики

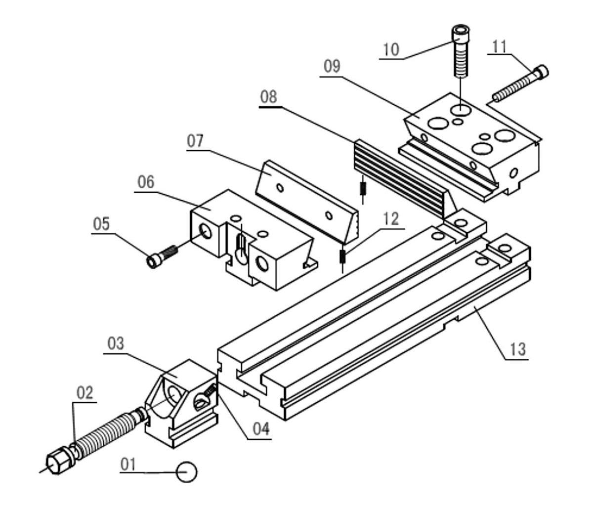
Рисунок 1 - Тиски станочные прецизионные модульные ТСПМ 125/150
- Стальной шар
- Ходовой винт
- Стойка
- Установочный винт с шестигранной головкой
- Круглый винт с шестигранной головкой
- Подвижная губка
- Пластина с подвижными тисками
- Фиксированная пластина с тисками
- Неподвижная губка
- Круглый винт с шестигранной головкой
- Круглый винт с шестигранной головкой
- Пружина
- Корпус
Принцип работы
Закрепите тиски на рабочем столе, поместите заготовку между неподвижной губкой и подвижной губкой, продвиньте скользящую часть вперед. Вставьте штифт в отверстие в корпусе, чтобы жестко зафиксировать стойку. После фиксации стойки (3) поверните ходовой винт (2), чтобы подвижная губка (06) двигалась дальше, и можно было плотно зажать заготовку.
Техническое обслуживание
- Точность рабочего стола должна быть в пределах 0,005 мм.
- Рекомендуется закрепить тиски на рабочем столе при помощи зажимных пластин.
- Крепление тисков к рабочему столу через отверстие в основании производится при помощи болтов и гаек. Следует иметь в виду, что чрезмерный крутящий момент может повредить корпус тисков, что приведет к затруднению перемещения подвижной губки. В таком случае значение крутящего момента на болтах должно быть менее указанного.
Техническое обслуживание
Вращающиеся и скользящие детали тисков необходимо своевременно смазывать маслом. При длительном хранении детали тисков следует очистить, смазать антикоррозийным маслом и упаковать в полиэтиленовый пакет.
Комплектность
В стандартную комплектацию входят:
- Тиски в сборе;
- Торцевой гаечный ключ;
- Т-образный ключ;
- Зажимы для тисков;
- Рабочий упор с основным болтом;
- Позиционные шпоночные гайки;
- Технический паспорт.
Товар из разделов
Спасибо! Ваша заявка отправлена.
Отзывов пока нет.



















